
根据国家或地区的不同,汽车电子组件认证标准可能不同,国家标准、国际标准或汽车企业标准。为了更好地满足各地区汽车零部件产品的要求,我们将比较和分析不同的静电放电标准。
静电放电标准主要由国际标准,IEC61000-4-2,ISO 10605 和各汽车企业标准组成。
表1 静电放电测试标准
注:从表中可以看出,国际标准一直是企业或实验室追随的标准,都在其基础上进行修改,大众和克莱斯勒参考了ISO10605和IEC61000-4-2标准。
静电放电原理
静电是由于摩擦而无法在两个物体之间转移的。这些积累的电荷产生静电。静电放电可以通过传导和辐射对电子元件进行干扰。PCB干扰影响系统工作。静电放电基本上分为两种模型。1.各种电子设备带电引起的静电;2.人体电荷引起的静电,汽车零部件的基本标准、产品标准和汽车企业标准主要基于人体模型模拟静电放电。下图为人体模型的原理图,其中电阻代表人体电阻,电容C代表人体电容。
试验方法及测试布置
1试验环境要求
表2 环境要求
注:通过静电放电原理,静电与环境有很大关系,通常温度越低,湿度越低,越容易产生静电,从上表可以看出,各汽车企业接近产品标准,比基本标准严格,克莱斯勒和宝马标准没有明确的温湿度要求,但根据标准可追溯性原则,需要追溯到上级,以ISO10605要求为准。
2、静电发生器输出特性的要求
ISO 10605:2008标准中规定了接触放电电流波形,给出校验波形的上.升沿和电流峰值而且还给出校验t1和t2处(不同的RC组合有不一样的t1和t2)的电流值,见表3。
表3 接触放电模式的电流特性
图中:X 时间,ns ;Y 电流,A
1:330pF/330Ω
2:150pF/330Ω图1 150pF/330Ω、330pF/330Ω在5kV 电压下的放电波形
图中:X 时间,ns ;Y 电流,A
1:330pF/2000Ω
2:150pF/2000Ω图2 150pF/2000Ω、330pF/2000Ω在5kV电压下的放电波形
表4 放电网络参数比较
注:2kΩ电阻的试验代表人体直接通过皮肤放电。而用330Ω电阻的试验代表人体通过金属部件,例如工具、钥匙和戒指等的放电。用330Ω电阻的试验要比用2kΩ电阻的试验来得严格,在相同电阻情况下,电容越大,试验越严格。
3.试验方法
ISO10605:2008规定,放电有两种:接触放电和空气放电。接触放电在测试过程中是首选。对于间隙和放电头无法接触的地方,选择空气放电每个汽车企业的标准也相当于这个标准。
IEC6100-4-2规定,放电包括接触放电、空气放电和间接放电,以及引用此标准的汽车公司,如大众和克莱斯勒。
4.测试布置
结合ISO10605:2008标准和企业标准,其标准包括电子组件测试和包装处理规定的电子组件敏感性分类测试。一些汽车制造商需要车辆静电放电测试。这里主要分析比较电子组件。
4.1.电子组件(带电状态)
根据ISO10605:2008的标准布局要求,水平耦合板通过两个470kΩ电阻(图3中13所示)与地面参考平面连接,将电池的负极连接到水平耦合板上,被测物置于水平耦合板上(50±5)mm,离开水平耦合板(HCP)的边缘为0.1m。
图3.对带电组件进行静电放电试验的配置
注:图中,1被试设备2静电放电发生器3静电放电发生器4非导电桌5水平耦合板(HCP)6接地点7接地线连接8被试设备9外部设备10电池11绝缘支撑(如需要)12绝缘块13470kΩ电阻14参考平面(GRP、选择)15水平耦合板(HCP)接地。
注:汽车制造商标准参照ISO10605、IEC61000-4-2标准,但部分制造商会根据自己的要求进行细微调整,如接地电阻,因为放电也会根据接地电阻、雪铁龙、福特标准要求为1MΩ,克莱斯勒标准不需要测试带电模式。
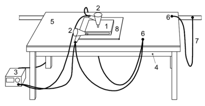
4.2.电子组件(无带电状态)
ISO10605:2008标准要求静电放电试验表面与其他导电结构(如屏蔽室导电表面)的最小距离为0.1m。放电试验时,被测物体放置在50mm的绝缘垫上,发生器的放电返回电缆应距离被试设备至少0.2m。高电阻(1mΩ)可以消除静电荷聚集,见图4。
图4对不带带电组件进行静电放电试验的配置
注:图中,1被试设备2静电放电发生器3静电放电发生器4非导电桌5水平耦合板(HCP)6接地点7接地线连接8消静电垫。
注:汽车制造商的标准主要参考ISO10605无带电部件的测试布局,但大众和克莱斯勒直接参考IEC61000-4-2的测试布局和测试方法。在模式放电过程中,包装和处理规定的电子部件的敏感性分类测试主要基于人体模型,因此,公众参考IEC61000-4-2标准更符合现场情况。从表4可以看出,放电网络150pf/330Ω的放电能量高于150pf/2000Ω,不同的是,克莱斯勒标准还需要场耦合测试。
5.试验等级
接触放电2kV~15kV参照ISO10605附录C要求。空气放电2kV~25kV。IEC61000-4-2要求接触放电2kV~8kV,空气放电2kV~15kV,并规定开放等级。汽车企业标准都是在这个标准的基础上进行测试的,但最高是25KV。
6.试验判据
ISO10605标准附录C规定了四个故障判断依据,要求每个测试等级完成后评估被测对象,汽车企业标准将根据测试等级给出相应的判断等级。